
配備「VRDS-ATLAS」機械結構和「Master Sound Discrete DAC」,K-01XD 的 SE 版本。將VRDS所代表的精緻推向極致的機械工程,還有把音樂質感表現出豐富色彩的獨家分砌式電路,以及為高音質重播奠基的電源部分,具備這一切優點的品牌象徵,就是自創業以來,在不斷開發的數位光碟播放器中繼承血統的K系列。
• 鋼橋厚20mm的「VRDS-ATLAS(ATLAS 01)」轉盤機構
• 內建使用高級元件的完全自家設計「Master Sound Discrete DAC」
• 改善獨家放大元件「IDM-01」等DAC電路中用於類比部分的分砌式元件 SE
• 採用4顆電源變壓器架構(DAC設有左右聲道專用的變壓器)
• 超級電容器「EDLC*1」共使用71顆(總容量1,850,000μF=1.85F)
• 獨家開發的支援64bit/512Fs的ΔΣ模組和FPGA演算法
• 強化電流傳輸緩衝放大電路ESOTERIC-HCLD(2,000V/μs)
• 能夠毫無保留傳輸音樂能量的獨家「ES-LINK Analog」電流傳輸
• 內建「Master Sound Discrete Clock for Digital Player」SE
• 時脈同步功能

優秀的聲學工程、不計成本的巨量資源投入、「博物館品質」的工藝,以及與音樂重播匹配的精美設計。作為來自日本的Hi-End音響品牌,ESOTERIC自1987年創立以來,一直走在音響創新的前沿,不斷挑戰高品質聲音的重播極限。
傳奇的SACD轉盤機構「VRDS-ATLAS」。以獨家分砌式電路構成的「Master Sound Discrete DAC」和「Master Sound Discrete Clock」。這些ESOTERIC所帶來的各種高度獨特性技術創新,讓它的歷史可說就是Hi-End音響界中數位播放器的進化史,這麼說一點也沒言過其實。然後,K-01XD以全新分砌式時脈技術與DAC類比部分為主進行升級的SE版本於此時此刻上市。我們始終以品牌自豪,以最佳的聲音為目標。這次上市的SE版本,體現了從最初版本上市以來所有可以想到的技術累積。請盡情享受更進一步提昇的臨場感和動態,以及充滿音樂性又帶著美好生命力的音色。
VRDS ATLAS
VRDS(Vibration-Free Rigid Disc-Clamping System)是ESOTERIC創立品牌以來,持續於CD/SACD轉盤機構上鑽研的根本技術。跟唱片相同直徑的轉盤確實將唱片夾緊旋轉,澈底排除唱片本身的旋轉振動和機構的多餘振動。另外,因為轉盤矯正了唱片的扭曲,而大幅提昇了光學拾取與唱片刻面之間的相對光軸精確度,因此讓伺服器的電流最小化,也因為這樣,不但大幅減低了唱片的讀取錯誤,也獲得了優異的音質。
VRDS-ATLAS
VRDS機構經過30多年的持續進化,在它輝煌的歷史中,最大的亮點就是新平台VRDS-ATLAS的誕生,不僅具備最高水準的完成度,還擁有傲人的高音質。K-01XD SE和K-03XD SE均配備各自專用的VRDS-ATLAS機構,完全繼承了旗艦款(Grandioso P1X SE、K1X SE)採用的VRDS-ATLAS旗艦款機構品質。
ATLAS01
鋼橋比VRDS-NEO更大,安裝在K-01XD SE中的ATLAS 01使用與高階型號相同的20mm厚鋼橋,它具有極高的剛性和重量,可以抑制影響音質的任何振動。轉盤由硬鋁製成,以出色的音質而聞名,主軸軸承是由鋼球製成的點接觸推力軸承,與高階型號一樣,是為了將摩擦和旋轉噪音降到最低的設計。
低重心又寬的設計為振動帶來最佳的控制
VRDS-ATLAS是VRDS史上最安靜而優雅,其成功關鍵在於更有效降低振動的機械接地技術。因為將機構整體幅度加寬並降低高度,使用既寬又低調的設計,讓重心變低。同時也因為將驅動轉盤的馬達從最上方改到轉盤下方,大幅縮短了振動被接地消除的距離,降低機械噪音。因為托盤只挖空最少部分,所以提高了剛性,加上特殊的樹脂製停止器,讓托盤在收闔時能防止共振。

強大的電源電路是音質的關鍵
K系列自豪的聲音不僅強勁又具有深刻輪廓的立體感,而這樣的音質關鍵就在於強大的電源部分。SE版本以原先的XD版本為基礎,做了進一步的改善,為音色添加了進一步的深度。K-01XD SE共配備4顆大容量環形變壓器。數位類比轉換器的左右聲道、機構和數位電路均由專用電源變壓器供電。數位和類比各自獨立供電,以此獲得純淨的播放能力。
配備低負回授DC穩壓器/超級電容器
電源穩壓器導入Grandioso P1X SE/D1X SE所培育的技術,因為使用分砌式架構而不是積體電路,所以可以採用「低負回授DC穩壓器」將負回授控制在最少,以獲得強大又充滿開放感的聲音。另外,K-01XD SE總共配備71顆(總容量1,850,000μF=1.85F)超級電容器,藉此讓電源具備大容量,進而顯著提昇低頻解析度的音質。
機箱結構和元件配置
VRDS-ATLAS轉盤機構設置在中央位置,固定於5mm厚的鋼製機箱底盤,透過獨家針尖腳座(專利第4075477號、第3778108號)以三點支撐,更有效抑制旋轉機構的振動。針尖腳座的腳座本身沒有使用螺絲固定於機箱底盤,而是在設置時透過構造讓箱體本身的重量支撐,可以避免腳座因為螺絲固定於面積寬廣的低盤而產生應力集中,達到具有開放感的聲音。機箱內部為雙層構造,將主要的音響電路板置於上層,電源電路和變壓器之類的則配置於下層,這樣不僅能夠預防漏磁通和振動的影響,還能讓電源供應的配線路徑最短。
半懸浮頂板
頂板不用螺絲固定,採取半懸浮的結構,讓聲音能夠伸展,帶有開放感。

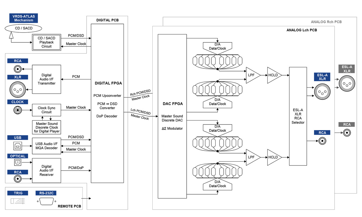
Master Sound Discrete DAC
因為是將嚴選的分砌式元件組成電路,所以目標在於完美重現音樂的「躍動感」和「能量感」,這是積體電路辦不到的。透過自家設計的分砌式數位類比轉換器Master Sound Discrete DAC,ESOTERIC頂尖工程團隊終於實現他們全力拼上自尊的聲音。
大量資源的投入和強大的電流輸出能力
最早用於Grandioso D1X的Master Sound Discrete DAC,是ESOTERIC史上最創新的DAC,充滿臨場感的聲音獲得了很高的評價。K-01XD SE採用的是濃縮K1X精髓、經由簡單電路構成的版本,將聲音帶往更高的領域。DAC每聲道由32組元素構成,各元素由時脈驅動器、邏輯電路、電容、電阻等元件組成,主要元件因為讓32組元素全部獨立,直接延續D1X SE的哲學投入大量的資源,所以能夠毫無保留又純淨地輸出音樂能量。
先進的數位處理能力
採用獨家開發的ΔΣ調變器,能支援64bit/512Fs以及DSD 22.5MHz重播等最新格式。為了讓DSD、PCM各自獲得最佳的重播表現,在FPGA的數位處理演算上採用針對Master Sound Discrete DAC開發的專用演算法。
改善DAC類比電路的分砌式元件
為了實現更高的音質,在全新的SE版本中,改善了類比電路的分砌式元件。 K-01XD SE採用了ESOTERIC獨家的放大模組「IDM-01」。透過元件、電路圖案和布局的嚴選,還有跟分砌式架構的擴大機一樣澈底發揮ESOTERIC的聲音哲學,以及善用積體電路的極短訊號路徑,讓音樂的躍動獲得過去動態所沒有的纖細放大。除此之外,更嚴選了類比濾波的電阻和電容等類比元件,透過反覆試聽,讓音質獲得更生動的臨場感,還有聽感上更佳的動態,以及更有生命力的質感。
從先進品管孕育而生的高音質
對於元件誤差會直接影響演算精確度的分砌式DAC來說,電路板的製造也需要高度的Know-how和品管。ESOTERIC的自家工廠是在跟醫院相同等級的無塵室裡使用無氧化爐進行焊接,是全球數一數二傲人的表面黏著技術。經由音響、醫療、航太、防衛等相關電路板製造所培育的技術,支援著Master Sound Discrete DAC的高品質。
獨家強化電流傳輸的輸出緩衝電路「ESOTERIC-HCLD」
具有驚人高速的ESOTERIC-HCLD*輸出緩衝放大器,採用反應速度達到2,000V/μs迴轉率的傲人元件。對於類比輸出電路來說,最重要的是電流傳輸能力和速度,追求極限為的就是透過讓人屏息的動態範圍來重現音樂的真實。
*HCLD=High Current Line Driver
配備高音質的電流傳輸方式ES-LINK Analog
與擴大機接駁時,除了使用LINE連接(XLR、RCA)之外,還採用了ESOTERIC獨家的「ES-LINK Analog」傳輸方式,善用HCLD緩衝電路的強大電流供應能力,讓信號在傳輸路徑上不容易受到阻抗影響,而能將訊號強力傳送出去,將支援的器材潛力發揮到極致。

具備外接輸入的數位類比轉換功能、USB端子、多元的數位轉換及MQA的支援
以支援DSD 22.5MHz的非同步傳輸USB端子為首,內建各種數位輸入端子,不但能作為數位類比轉換器使用,還能對PCM數位訊號做2/4/8/16倍(最高768kHz)的升頻,或將PCM轉為DSD訊號。以MQA-CD的解碼重播和USB輸入為首,支援各種數位輸入在重播時的MQA編碼。
Master Sound Discrete Clock for Digital Player
要讓數位重播達到高音質,最大關鍵可說是在於時脈電路也不為過。ESOTERIC一心專注於過去將晶體振盪電路封裝成IC的通用模組,而完成了旗艦款主時脈產生器Grandioso G1X專用的自製高級時鐘模組「Master Sound Discrete Clock」。G1X的獨家分砌式電路本身帶有優越的音樂表現能力,在過去講究精確度的時脈領域中掀起波瀾而獲得了高度的評價。
SE版本採用的「Master Sounf Discrete Clock for Digital Player」,讓這個分砌式電路的設計概念適用於數位播放器的內部時鐘。獨家的電路設計奠基於大型晶體振盪器這類經過嚴選的分砌式元件,也因為如此,實現了過去一般時脈IC所達不到的高音質,並從細節反映出ESOTERIC的想法。另外,如果外接G系列主時脈產生器,還能讓SE的內部時脈電路進一步與10MHz的時脈同步,提昇內部電路的精確度,讓音質更上一層。

可播放光碟片類型:SACD/CD/CD-R/CD-RW
類比音頻輸出
XLR/ESL-A端子×1對 (L/R)、RCA端子×1對 (L/R)
輸出阻抗:XLR: 114Ω;RCA: 34Ω
最大輸出電平:(1kHz, 10kΩ loaded):XLR: 5.0Vrms;RCA: 2.5Vrms
數位音頻輸出
XLR 端子x 1
輸出阻抗﹕3 Vp-p (into 110Ω)
輸出訊號格式﹕線性PCM (AES/EBU) 44.1kHz,16bit(CD)
RCA端子x 1
輸出阻抗﹕0.5 Vp-p (into 75Ω)
輸出訊號格式﹕線性PCM (IEC 60958) 44.1kHz,16bit(CD)
數位音頻輸入
RCA端子x 1
輸入訊號格式﹕線性PCM (IEC 60958)32 – 192 kHz,16/ 24bit DSD (DoP) 2.8MHz
光纖數位端子x 1
輸入訊號格式﹕線性PCM (IEC 60958)32 – 192 kHz,16/ 24 bit DSD (DoP) 2.8MHz
USB-B端子x 1
標準USB 2.0
輸入訊號格式﹕線性PCM (IEC 60958) 44.1-384 kHz,16/ 24/ 32 bit
DSD 2.8MHz, 5.6MHz,11.2MHz, 22.5MHz
時脈同步輸入
端子:BNC x 1
輸入阻抗:50Ω
支援輸入頻率:10MHz(±10ppm)
輸入電平:正弦波﹕0.5 – 1.0 V rms
外接控制介面:RS-232C 1 (請參考 here命令表)
TRIG:1(3.5mm monoral 迷你接頭)
一般
電源供應:AC 120V, 60Hz
消耗功率:26W
尺寸:445 × 162 × 438mm (WxHxD)(包含凸出部分)
重量:31kg
附件:電源線× 1、遙控器 (RC-1333) × 1、AA電池 × 2、毛氈墊 × 3、使用者說明書 × 1、保固卡 × 1